镜向光泽度什么意思?镜向反射的结果使材料表面所获得的光泽称为镜向光泽,其反射能力的大小称为镜向光泽度。镜向光泽度是对镜向光泽的相对测量,可以使用光泽度计测量。本文对镜向光泽度的含义、测量仪器、测量仪器的原理做了介绍。

光泽是物体的一种外观光学特性,表面平滑材料受到可见光照射时,产生有方向性的镜向反光,同时在表面及其以下的粒状结构中因漫射而发出一定的光亮和颜色。镜向反射的结果使材料表面所获得的光泽称为镜向光泽,其反射能力的大小称为镜向光泽度。镜向光泽度是对镜向光泽的相对测量。参照标准是以折射率nD=1.567的黑玻璃,假设其平面在得到理想抛光的状态下,由该平面对自然光束进行镜向反射,并定义此时的光泽度值为100.0光泽单位。镜向光泽度的符号为Gs(θ),单位为光泽单位。
800彩票镜向光泽度计是测量油漆、纸张、塑料、搪瓷、陶瓷、铝及铝合金等平面制品的镜向光泽度的计量仪器,广泛使用在建材、印刷等行业。光泽度计是利用光反射的原理对样品的光泽度进行测量,在规定人射角和规定光束的条件下照射样品,得到镜向反射角方向的光束。用光泽度计测定试样表面反射光通量与人射光通量的比值,即用反射率来评定表面光泽的强弱。光泽度计由光源、透镜、接受器和显示仪表等组成。其测量原理分为平行光路和会聚光路两种,光泽度计又分为定角式及变角式。常用的角度为20°、45°、60°、75°和85°。
800彩票按光泽度计的照明光束和接收光束分,光泽度计有两类:一类是平行光路,另一类是会聚光路。
按入射角分:有定角式和变角式两种。
800彩票从光源发出的光,经过照明透镜正确地照到样品上,由接收透镜在镜面反射方向上将光束送给探测器,将光信号转换成电信号,经放大等处理后输出,完成光泽度的测试。
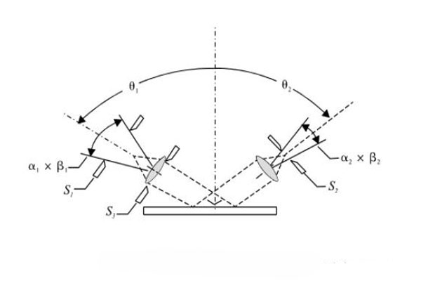
800彩票下图所示为平行光照明的光路图。

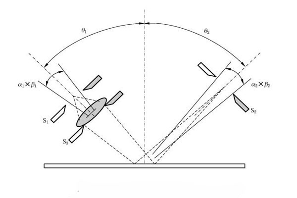
800彩票下图所示为会聚光照明的光路图。

800彩票探测器通常校正为具有v(λ)光谱响的特性。
800彩票镜向光泽度计的几何条件主要是指入射角的大小,有关测试标准对入射角和接收角及其公差也作了规定。入射角在光泽测量中极为重要,通常用 20°,45°,60°,75°,85°,它们分别用于不同样品的测量。一般来说,大角度用于低光泽样品,小角度用于高光泽样品,中角度使用范围较宽。下面是有关标准推荐的使用举例。
