光泽度仪根据测量角度的不同,可以分为20°、45°、60°、75°等不同的角度,其中20°、45°、75°光泽度仪,主要用于纸张等光泽度的测量。本文对20°、45°、75°光泽度仪光学系统做了介绍,感兴趣的朋友不妨了解一下!

800彩票20°光泽度测定法主要适用于铸涂纸、蜡光纸等高光泽度的纸和纸板,也适用于高印刷光泽度的纸和纸板印样。不适用于光泽度较低的涂布或未涂布的纸和纸板。
45°光泽度测定法主要适用于测定铝箔纸、真空镀铝纸等金属复合的纸和纸板。
800彩票75°光泽度测定法主要适用于涂布纸及纸板,也可用于未涂布纸及纸板或低印刷光泽度的纸及纸板印样,试样的颜色和漫反射比的差别对测定光泽度的影响不大。
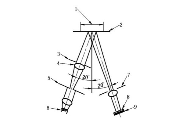
1.20°光泽度仪光学系统
20°光泽度测定仪光学系统由光源、透镜、光源视场光阑、接收孔组成,具体如下:

1——试样上的照明区域;2——试样压板;3——孔径光阑;4——光源物镜;5——光源视场光阑;6——灯;7——圆形接收孔;8——滤光片;9——光电器件。
入射光束的轴线对试样法线的角度为20.0°±0.1°,接收器的轴线应与入射光束轴线的镜面图像相符,偏差为±0.1。当在试样位置放上抛光玻璃或其他平面镜时,在接收孔的中心便形成光源视场光阑的像。接收孔呈圆形,其直径对于试样照明面积中心的张角为5.00°±0.04°。
2.45°光泽度仪光学系统
45°光泽度仪光学系统见下图,由稳定电源供电的3W磨砂灯泡发出的光,照在一个孔径为1.5 mm的光阑上,光阑处于透镜的焦点位置。所产生的平行光束投射在试样表面并发生反射,人射角和反射角都为45°±0.5°。反射光通过第二透镜聚焦,在接收光阑孔上形成人射光阑孔的影像,光束射在光电池上。
800彩票透镜采用消色差双合粘合透镜,其相对孔径应不超过f/3。
800彩票光电池与接收光栅的距离应足够远,因为光照点的直径约为19mm。

1——反射表面;2——光电池;3——接收光阑孔,直径1.5mm;4——磨砂灯泡;5——黄铜灯罩;6.入射光阑,直径1.5mm;7——透镜;8——全反射三棱镜。
3.75°光泽度仪光学系统
75°光泽度仪光学系统如下图所示,光线从光源出发,经过聚光镜和矩形孔径(矩形光源视场光阑)的几何中心。光阑用于限制灯丝,使之成为有效光源,光线通过光源物镜和矩形孔径的几何中心到达试样。轴光线与试样平面的交点称为测试面中心(不必与测试孔的儿何中心重合)。将一块平面镜放到试样位置,轴光线被平面镜反射并且通过接收孔的中心,光源物镜将光源孔径成像在接收孔上,将测试面中心到接收孔距离d作为确定其他尺寸的基数。关键尺寸是人射角度和接收孔的位置和直径。
